и передний радикал - тем болееpropeler писал(а):Эти статьи все равно ниразу не обьясняют зачем ось колесная должна проходить через кингпин. Больше, судя по этой статье даже рендал офсетный :)
Обсуждение статьи: «Скейт: снаряжение»
Модератор: au
Правила форума
Данный форум создан для обмена информацией о событиях в мире жёсткого сноуборда и слаломного скейта.
Velvet.pro - не казарма, здесь приветствуется информативный и доброжелательный стиль общения.
В топиках, посвящённых технике катания, необходимо придерживаться темы обсуждения.
Сообщения не по теме(оффтопы) будут выноситься в отдельные темы, а флуд, хамство и переходы на личности будут нещадно выпиливаться.
Мы не хотим видеть в подписях ссылки на коммерческие сайты.
Уважайте себя и своих собеседников, и относитесь к новичкам немного терпимее!
Спасибо за внимание!
Ваша администрация :)
Данный форум создан для обмена информацией о событиях в мире жёсткого сноуборда и слаломного скейта.
Velvet.pro - не казарма, здесь приветствуется информативный и доброжелательный стиль общения.
В топиках, посвящённых технике катания, необходимо придерживаться темы обсуждения.
Сообщения не по теме(оффтопы) будут выноситься в отдельные темы, а флуд, хамство и переходы на личности будут нещадно выпиливаться.
Мы не хотим видеть в подписях ссылки на коммерческие сайты.
Уважайте себя и своих собеседников, и относитесь к новичкам немного терпимее!
Спасибо за внимание!
Ваша администрация :)
- au
- Сообщения: 10902
- Зарегистрирован: 04 мар 2011, 16:45
- Откуда: Первопрестольная
- Контактная информация:
Re: Обсуждение статьи: «Скейт: снаряжение»
- Olegg
- Сообщения: 430
- Зарегистрирован: 17 мар 2011, 13:24
- Откуда: Москва
Re: Обсуждение статьи: «Скейт: снаряжение»
Я бы предложил взгляд практика-пользователя этих офсетных и не совсем подвесок: передний Радикал Claw стоя спереди на борде при нормальной настройке тянет его вперед при простом наклонянии деки туда-сюда без подталкивания ногами этого борда. Такое поведение я назвал бы "самоходностью" борда. При этом по классификации офсетов эта подвеска попадает в "с офсетными осями". Если посмотреть на слалом-чемпионов, то у всех спереди или GOGи или Radikalы, редко Сплиты или Траккер/Рэндалы, т.е. спереди должны быть offset axles т.к. он хорошо тянет.
Сзади - видимо нужна стабильность, поэтому offset Trucks: Airflow, Radikal Wing/Tail, Splitfire, GOG Racer X/Mitchel, Trakker RTS...
Сзади - видимо нужна стабильность, поэтому offset Trucks: Airflow, Radikal Wing/Tail, Splitfire, GOG Racer X/Mitchel, Trakker RTS...
- au
- Сообщения: 10902
- Зарегистрирован: 04 мар 2011, 16:45
- Откуда: Первопрестольная
- Контактная информация:
Re: Обсуждение статьи: «Скейт: снаряжение»
а как же Гомер?Olegg писал(а):Если посмотреть на слалом-чемпионов, то у всех спереди или GOGи или Radikalы, редко Сплиты или Траккер/Рэндалы, т.е. спереди должны быть offset axles т.к. он хорошо тянет.
в ТС-е, где важна поворотливость, люди пользуются нестабильными беннето-подобными подвесками с высоким центром крена.
в гибриде, или ГС-е, где скорости выше, и важно сцепление - рулят подвески с низким центром крена.
я так понимаю,
кстати, Олег, я вчера попробовал Савин беннетт со сфериком - доска рулиться отменно.
Гомер надо брать.
-
Vektor
- Сообщения: 25
- Зарегистрирован: 26 апр 2011, 08:24
- Откуда: Волговятия
Re: Обсуждение статьи: «Скейт: снаряжение»
Оси сдвинуты? Или кингпин? Или хангер короче, чем у рендела? Или что вообще хотите этим сказать. Нарисуйте. Можете на этой картинке.au писал(а):почему у офсетной подвески оси сдвинуты вдоль оси вращения кронштейна к поворотному пальцу?
Центр крена в таком положении выше, чем у рандалоподобной подвески, например.
Сцепление, значит, ниже.
Как так?
Последний раз редактировалось Vektor 11 май 2011, 18:27, всего редактировалось 1 раз.
- au
- Сообщения: 10902
- Зарегистрирован: 04 мар 2011, 16:45
- Откуда: Первопрестольная
- Контактная информация:
Re: Обсуждение статьи: «Скейт: снаряжение»
почему в офсетной подвеске оси проходят через кингпин, а не находятся за ним, как у рандала?Vektor писал(а):Оси сдвинуты?
да, если можно, вкладывайте картинки в сообщение.
у меня на работе некоторые image-хостеры заблокированы.
- Olegg
- Сообщения: 430
- Зарегистрирован: 17 мар 2011, 13:24
- Откуда: Москва
Re: Обсуждение статьи: «Скейт: снаряжение»
Да, все забываю что мы озабочены ускорением и легкой атлетикой по плоскости и в горку слегка, а все трассы ставятся под уклон, где разгонять себя легче чем на плоскости - выплывает проблема сохранения скорости и ритма, стабильности в дуге, - для этого толкающие подвески не так важны. Кстати простейшие нормально настроенные траккеры по моим ощущениям на горе ведут себя очень стабильно в дуге. Кстати из офсетов Виражи забыл еще упомянуть. А на последних фото передняя из подвесок - Вираж LDP - rear и не для слалома как я понимаю, хотя задняя слаломная имеет похожие углы.au писал(а):а как же Гомер?он не офсетный.
в ТС-е, где важна поворотливость, люди пользуются нестабильными беннето-подобными подвесками с высоким центром крена.
в гибриде, или ГС-е, где скорости выше, и важно сцепление - рулят подвески с низким центром крена.
я так понимаю,
ЗЫ Нестабильность - компонент поворотливости...
Последний раз редактировалось Olegg 11 май 2011, 15:38, всего редактировалось 2 раза.
- au
- Сообщения: 10902
- Зарегистрирован: 04 мар 2011, 16:45
- Откуда: Первопрестольная
- Контактная информация:
Re: Обсуждение статьи: «Скейт: снаряжение»
Virage LDP Rear.Olegg писал(а):А на последних фото передняя из подвесок - что за зверь?
20° х 124мм
-
Vektor
- Сообщения: 25
- Зарегистрирован: 26 апр 2011, 08:24
- Откуда: Волговятия
Re: Обсуждение статьи: «Скейт: снаряжение»
Если отвечать буквально вопросу: конструктивно у оффсета ось разрезная, у рендела цельная.au писал(а):почему в офсетной подвеске оси проходят через кингпин, а не находятся за ним, как у рандала?
А вообще абсолютно некорректное сравнение. Ренделл на хвост для слалома это адаптированный подвес с очень сходными с оффсетом характеристиками (за сущие копейки). Укажите другой подвес или другой параметр для сравнения.
- au
- Сообщения: 10902
- Зарегистрирован: 04 мар 2011, 16:45
- Откуда: Первопрестольная
- Контактная информация:
Re: Обсуждение статьи: «Скейт: снаряжение»
цельная ось - прочнее и дешевле в производстве, вопрос не в этом.Vektor писал(а):Если отвечать буквально вопросу: конструктивно у оффсета ось разрезная, у рендела цельная.
почему с точки зрения кинематики подвески оси в оффсете разрезные и именно на уровне кингпина? - меня исключительно это интересует. для чего это сделано? центр крена повышается - значит дело не в нём. в чём тогда?
-
propeler
- Сообщения: 84
- Зарегистрирован: 21 мар 2011, 12:30
- Откуда: Киев
Re: Обсуждение статьи: «Скейт: снаряжение»
Загадка для всех. Есть две подвески, внешне выглядящие различно, но абсолютно идентичные по геометрии "по сути". Тоесть у них одинаковые точки опоры кронштейна(в пайвоте и меджду амортами), одинаковая ось вращения кронштейна, одинаковая траэктория колесной оси, одинаковый ролцентр. Поедут ли эти две подвески одинаково, или по-разному? Если по-разному, то почему?
А, и еще... офсетная только на первом рисунке?
А, и еще... офсетная только на первом рисунке?
-
Vektor
- Сообщения: 25
- Зарегистрирован: 26 апр 2011, 08:24
- Откуда: Волговятия
Re: Обсуждение статьи: «Скейт: снаряжение»
Ну, вообще то существует понятие мультикингпина и оси там на оффсете не разрезные. Тот же Chaput truck. Разрезные делают, потому что амортизаторы стоят и кингпин торчит. При соблюдении соотношения перпендикулярности оси качения хангера к плоскости, в которой качается колесная ось эту самую ось можно поместить куда угодно, просто на оси кингпина размещать удобно по конструкции и по распределению нагрузки.au писал(а):почему с точки зрения кинематики подвески оси в оффсете разрезные и именно на уровне кингпина? - меня исключительно это интересует.
Поведение же подвеса (распределение нагрузки между колесами) при соблюдении соотношения (перпендикулярности оси качения хангера к плоскости, в которой качается колесная ось) в любой точке наклона подвеса одинаково.
- SveshnickoFF
- Сообщения: 7553
- Зарегистрирован: 17 мар 2011, 15:25
- Откуда: Москва-Железнодорожный
Re: Обсуждение статьи: «Скейт: снаряжение»
паскоку про оффсеты я выше написАл, отвечать не буду. я там подробно расписАл.
напишу отличие - угол между осью кингпина и осью вращения подвесок разный. я думаю, они тока потому поедут по-разному
напишу отличие - угол между осью кингпина и осью вращения подвесок разный. я думаю, они тока потому поедут по-разному
- au
- Сообщения: 10902
- Зарегистрирован: 04 мар 2011, 16:45
- Откуда: Первопрестольная
- Контактная информация:
Re: Обсуждение статьи: «Скейт: снаряжение»
можно по-подробнее про распределение нагрузки?Vektor писал(а):просто на оси кингпина размещать удобно ...по распределению нагрузки
не понятно, к чему это?Поведение же подвеса (распределение нагрузки между колесами) при соблюдении соотношения (перпендикулярности оси качения хангера к плоскости, в которой качается колесная ось) в любой точке наклона подвеса одинаково.
- au
- Сообщения: 10902
- Зарегистрирован: 04 мар 2011, 16:45
- Откуда: Первопрестольная
- Контактная информация:
Re: Обсуждение статьи: «Скейт: снаряжение»
по-разному.propeler писал(а):Поедут ли эти две подвески одинаково, или по-разному?
нижний амортизатор в первом случае будет сжат сильнее при том же весе.
чтоб рассмотреть действие на смещённую относительно кингпина ось, надо бы влияние аморов исключить из рассмотрения.
-
propeler
- Сообщения: 84
- Зарегистрирован: 21 мар 2011, 12:30
- Откуда: Киев
Re: Обсуждение статьи: «Скейт: снаряжение»
так исключим. че тут такого. основное ведь поведение подвески зависит от геометрии а не от амортов. если на бенет поставить 90а аморты бенет рендалом от этого не станет же.надо бы влияние аморов исключить из рассмотрения
-
Vektor
- Сообщения: 25
- Зарегистрирован: 26 апр 2011, 08:24
- Откуда: Волговятия
Re: Обсуждение статьи: «Скейт: снаряжение»
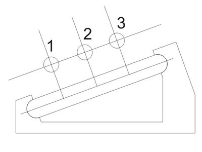
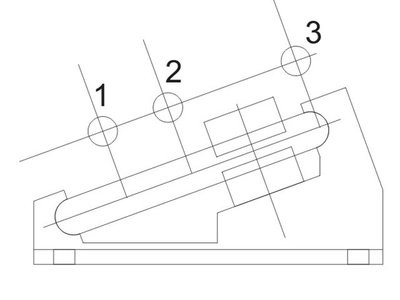
Убираем кингпин, как точку опоры. В какой из точек подвес будет оффсетным?
-
propeler
- Сообщения: 84
- Зарегистрирован: 21 мар 2011, 12:30
- Откуда: Киев
Re: Обсуждение статьи: «Скейт: снаряжение»
Все три положения идентичны с точки зрения геометрии. Ролцентр, плоскость движения оси одинаковы. разница только в выссоте оси от дэки. Если ставить плоский райзер подходящей высоты все три поедут одинаково.
Поэтому что? ТО что без разницы - находиться ли ось колеса на оси кингпина или нет.
Разница только в распределении нагрузок между точками опоры.... Но и она зависит не от положения оси колеса, а от положения ролцентра относительно двух точек опоры(пайвота, и амортов)
Поэтому что? ТО что без разницы - находиться ли ось колеса на оси кингпина или нет.
Разница только в распределении нагрузок между точками опоры.... Но и она зависит не от положения оси колеса, а от положения ролцентра относительно двух точек опоры(пайвота, и амортов)
Последний раз редактировалось propeler 11 май 2011, 16:50, всего редактировалось 1 раз.
- au
- Сообщения: 10902
- Зарегистрирован: 04 мар 2011, 16:45
- Откуда: Первопрестольная
- Контактная информация:
Re: Обсуждение статьи: «Скейт: снаряжение»
я не понимаю, что на схеме.Vektor писал(а):Убираем кингпин, как точку опоры. В какой из точек подвес будет оффсетным?
где находится кронштейн и как на него передаётся усилие от деки?
и, самое главное, за счёт чего достигается равновесное положение?
- Шомпол
- Сообщения: 1192
- Зарегистрирован: 16 мар 2011, 07:51
- Откуда: сайт, который нельзя назвать...
Re: Обсуждение статьи: «Скейт: снаряжение»
Как говорит древняя русская поговорка...
Один маркетолог ляпнул - сто мудрецов смысл ищут :)
Один маркетолог ляпнул - сто мудрецов смысл ищут :)
-
Vektor
- Сообщения: 25
- Зарегистрирован: 26 апр 2011, 08:24
- Откуда: Волговятия
Re: Обсуждение статьи: «Скейт: снаряжение»
Хех:) А у чапута кингпин то подвижный...
Последний раз редактировалось Vektor 11 май 2011, 16:58, всего редактировалось 1 раз.